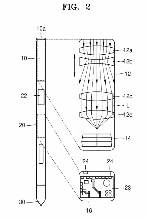
Ένα πρόσφατο δίπλωμα ευρεσιτεχνίας κατατέθηκε από τη Samsung στο USPTO (Γραφείο Διπλωμάτων Ευρεσιτεχνίας και Εμπορικών Σημάτων των ΗΠΑ). Τι ξεχωριστό έχει; Παρουσιάζει μια εντελώς διαφορετική εικόνα σχετικά με το επερχόμενο Galaxy Note. Φαίνεται ότι η Samsung ψάχνει τρόπους για να αφαιρέσει εντελώς εγκοπές και κάθε άλλη οπή από την οθόνη.

Η επόμενη ναυαρχίδα του Samsung Galaxy Note,όπως δείχνει η πατέντα, μπορεί να έρθει με μια φωτογραφική μηχανή μέσα στο S-Pen. Ήδη η εταιρεία έχει προχωρήσει σε μεγάλο βαθμό και αναμένεται στα επόμενα μοντέλα