apple-battery-patent-Smartphonegreece phoneArena

Η Apple υπέβαλε δύο αιτήσεις διπλωμάτων ευρεσιτεχνίας για καινοτομίες που σχετίζονται με την μπαταρία

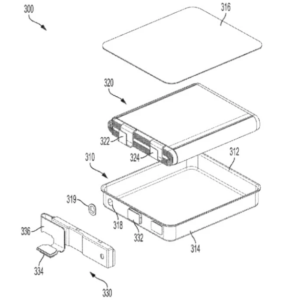
Το πρώτο δίπλωμα ευρεσιτεχνίας, με τίτλο «Metal Can Battery,» μειώνει το διάστημα μεταξύ των εξαρτημάτων σε μια ηλεκτρονική συσκευή. Αυτά τα εξαρτήματα περιβάλλουν μια μπαταρία και με το σύστημα που αναφέρεται στην αίτηση ευρεσιτεχνίας, μια μεγαλύτερη μπαταρία θα μπορούσε να χρησιμοποιηθεί μέσα σε μια συσκευή χωρίς να καταστρέψει τα εξαρτήματα. Αυτήν τη στιγμή, υπάρχει χαμένος χώρος που έχει σχεδιαστεί σε smartphone και σε άλλες συσκευές, καθώς τα εξαρτήματα μπορούν να διαβρωθούν ή να αντιμετωπίσουν άλλες ζημιές, εάν τα αγγίξετε το δοχείο.

Στην εφαρμογή, η Apple εξηγεί πώς θα απαλλαγεί από το σπατάλη χώρου μέσα σε μια συσκευή. Αυτό θα το επιτύχει περικυκλώνοντας μια μπαταρία με περίβλημα που είναι άκαμπτο ή ημι-άκαμπτο. Αυτό το περίβλημα μπορεί να βρίσκεται πολύ κοντά σε ηλεκτρονικά εξαρτήματα χωρίς να τα καταστρέφει. Σε ένα παράδειγμα το ηλεκτρόδιο προστατεύεται από ένα μεταλλικό περίβλημα ερμητικά σφραγισμένο γύρω από το ηλεκτρόδιο σε μια φλάντζα. Αυτό θα αποτρέψει ένα ζήτημα που θα βλάψει τα ηλεκτρονικά εξαρτήματα. Η ζημιά μπορεί να συμβεί επειδή συχνά η θήκη που περιέχει μια μπαταρία φέρει τάση λόγω του μεγέθους της μπαταρίας που μπορεί να δώσει στην άκρη της θήκης ηλεκτρικό φορτίο. Η μείωση του μεγέθους της μπαταρίας είναι η κύρια λύση που χρησιμοποιείται τώρα, αλλά αυτό περιορίζει τη διάρκεια ζωής της μπαταρίας μιας συσκευής.

Apple-patent-Smartphonegreece                                   phoneArena

Το δεύτερο δίπλωμα ευρεσιτεχνίας ονομάζεται «Μέθοδοι για τον προσδιορισμό και τον έλεγχο της επέκτασης της μπαταρίας» και αναφέρεται σε μια μέθοδο που βοηθά στον προσδιορισμό του πότε η επέκταση μιας επαναφορτιζόμενης μπαταρίας είναι μεγαλύτερη από ένα ορισμένο όριο. Εάν το πρήξιμο μιας μπαταρίας υπερβαίνει ένα προκαθορισμένο ποσό, ένας ανιχνευτής επέκτασης θα αναφέρει αυτές τις πληροφορίες σε «μια συνδεδεμένη μονάδα επεξεργασίας» που θα κάνει αλλαγές στο κύκλωμα της συσκευής για να φορτίσει την πρησμένη μπαταρία με βραδύτερο ρυθμό και χρησιμοποιώντας μειωμένη τάση. Αυτό θα μείωνε την πιθανή απειλή μιας διογκωμένης μπαταρίας που επεκτείνεται σε μέγεθος.

Η αίτηση διπλώματος ευρεσιτεχνίας καθιστά λιγότερο πιθανό για μια πρησμένη επαναφορτιζόμενη μπαταρία να συνεχίσει να λαμβάνει την ποσότητα ενέργειας που απαιτείται για τη φόρτιση της μπαταρίας, ενώ κινδυνεύει να εκραγεί. Ένας κάτοχος τηλεφώνου που παρατηρεί ότι η επαναφορτιζόμενη μπαταρία στο τηλέφωνό του χρειάζεται περισσότερο χρόνο για να φορτιστεί, θα πρέπει ακόμη να το αναγνωρίσει ως ένδειξη ότι υπάρχει πρόβλημα με την μπαταρία που θα απαιτήσει την αντικατάστασή της. Αυτό που προσπαθεί να κάνει η Apple είναι να αποτρέψει τους τραυματισμούς των χρηστών και να καταστραφούν οι συσκευές ειδοποιώντας τον χρήστη, σε αυτήν την περίπτωση με την επιτάχυνση της διαδικασίας φόρτισης, ότι κάτι δεν πάει καλά με την μπαταρία.

via